MTZ 82 co na jego temat powiecie?
-
Podobna zawartość
-
Przez AgrostokParczew
Witam, mam na magazynie kilka czapek oryginalnych Belarus, ciepłe obszyte od środka, jakby ktoś był zainteresowany proszę dzwonić pod 516-220-311
-
Przez Kulik
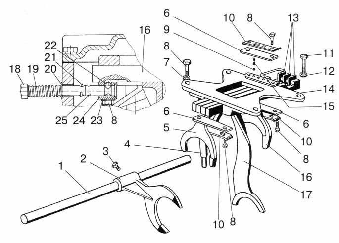
Witam tak jak w temacie w jaki sposób inżynierowie ustalili ciśnienie na siłownik od womu ?? czy ktoś ma taką wiedzę ? proszę nie pisać że ciśnienie wstala króciec wkręcony w monoblok bo sprawdziłem i jest to nieprawdą jedynie co to on utrzymuje stałe ciśnienie na wolnych obr,podejrzewam że musi być coś w rozdzielaczu z elektrozaworami bo przecież ciśnienie idzie bezpośrednio z pompy i w rozdzielaczu zmniejszą może przez jakiś zaworek czy coś.Czekam na ciekawe pomysły
-
Przez Phosgen
Cześć, wałkowany temat, do kupienia ciągnik w niewielkich pieniadzach.
Niemam doświadczenia w tego typu maszynach ile według Was mógłby kosztować (chce go po prostu kupić) i proszę o wyrozumiałość pierwszy raz na forum silnika nie słyszałem, dużo wycieków taki standard rusin 😁
-
Przez kukum
Witam znalazłem coś takiego https://www.agroinform.com/pl/rynek-arkusz-danych/czesc/czesci-do-ciagnikow/zestaw-do-konwersji-mechanicznej-blokady-mechanizmu-roznicowego-mtz/h_7470875 I interesuje mnie właśnie taka blokada bo powiem szczerze ze nie chce mi się walczyć już z moja oryginalna , myślałem nad pneumatyka nawet ale znalazłem coś takiego jak mechaniczna blokada na dźwigienkę i pytanie moje jest takie czy udało się komuś to ściągnąć z Węgier bo ja nie mogę się wgl z gościem skontaktować
-
Przez modelarz
Witam, mam taki problem. Wymieniłem pompę oraz uszczelniacze w regulatorze siłowym i siłowniku. I teraz problem na zimnym oleju bardzo pomału ale podnieie pług 4-skibowy (ale nie do końca bo nie moge zablokować aby nie opadał), a gdy tylko olej się zagrzeje to prawie wcale nie moge podnieść pługa. Co może byc tego przyczyną. Dodam że przed wymianą było dokładnie to samo. Mój mtz jest z 95r. A i dodam że podnosze tą wajchą koło siedzenia (od regulatora siłowego). Pozdrawiam i prosiłbym o pomoc
-

Rekomendowane odpowiedzi
MF 264. 4x4
Pszenica ozima Diplom
Jeśli chcesz dodać odpowiedź, zaloguj się lub zarejestruj nowe konto
Jedynie zarejestrowani użytkownicy mogą komentować zawartość tej strony.
Zarejestruj nowe konto
Załóż nowe konto. To bardzo proste!
Zarejestruj sięZaloguj się
Posiadasz już konto? Zaloguj się poniżej.
Zaloguj się