Skocz do zawartości

Znajdź zawartość

Wyświetlanie wyników dla tagów '5xx' lub '' .

  • Wyszukaj za pomocą tagów

    Wpisz tagi, oddzielając je przecinkami.
  • Wyszukaj przy użyciu nazwy użytkownika

Typ zawartości


Forum

Blogi


Szukaj wyników w...

Znajdź wyniki, które zawierają...


Data utworzenia

  • Od tej daty

    Do tej daty


Ostatnia aktualizacja

  • Od tej daty

    Do tej daty


Filtruj po ilości...

Dołączył

  • Od tej daty

    Do tej daty


Grupa podstawowa


ICQ


Yahoo


Jabber


Skype


Lokalizacja


Zainteresowania


Kod pocztowy

Znaleziono 1 wynik

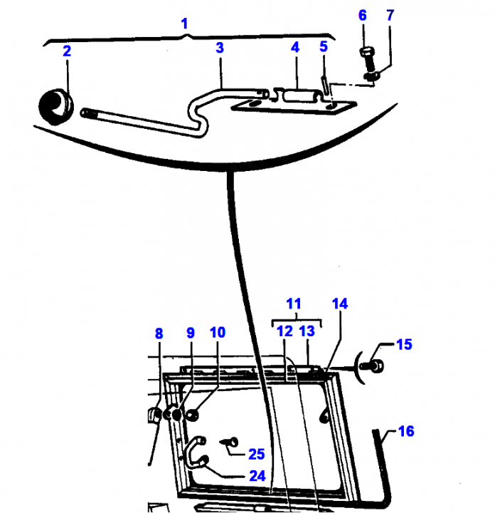
  1. Witam Poszukuję ramki szyby tylnej kabiny z zamknięciem wg rysunku lub osoby któr posiada ciągnik z taka kabiną i mogła by udostępnić zdjęcia w jaki sposób jest ona zbudowana i jak montowana. Pozdrawiam
×
×
  • Dodaj nową pozycję...
v